| Поз. | Обозначение | Наименование | Кол. |
| 1 | 027.36.11.575-01 | Хомут | 18 |
| 2 | ПК46.41.01.000 | Электрооборудование кабины погрузчика | 1 |
| 3 | Стяжка (Хомут) К-250МВ | 10 | |
| 4 | 027.36.11.571-01 | Хомут | 2 |
| 5 | Скоба 14569980 | 10 | |
| 6 | 027.36.11.517 | Хомут | 9 |
| 7 | Болт M6-6g×16.58.019 (S10) ГОСТ 7798-70 | 53 |
| 8 | Стяжка (Хомут) К-200МВ | 30 | |
| 9 | ПК46.41.01.015 | Прокладка | 15 |
| 10 | 027.36.11.571 | Хомут | 7 |
| 11 | Батарея аккумуляторная 6СТ-190А ТУ 16-729.384-83 | 2 | |
| 12 | Гайка М10-6Н.5.019 (S16) ГОСТ 5915-70 | 4 | |
| 13 | Шайба 10.65Г.019 ГОСТ 6402-70 | 5 | |
| 14 | Шайба С.10.02.019 ГОСТ 11371-78 | 5 | |
| 15 | Болт M10-6g×35.58.019 (S16) ГОСТ 7798-70 | 4 | |
| 16 | Выключатель 1410.3737 ТУ 37.003.574-74 | 1 | |
| 17 | Болт М6-6g×20.58.019 (S10) ГОСТ 7798-70 | 2 | |
| 18 | Шайба С.6.02.019 ГОСТ 11371-78 | 56 | |
| 19 | Шайба 6.65Г.019 ГОСТ 6402-70 | 73 | |
| 20 | Болт М10-6g×20.58.019 (S16) ГОСТ 7798-70 | 1 | |
| 21 | Кольцо Д395А-0401300 | 4 | |
| 22 | Соединитель СЦАЗ-2-6-Р-01 | 2 | |
| 23 | Фонарь задний 171.3716010-01 ГОСТ 6964-72 | 2 | |
| 24 | ПК46.41.00.001 | Планка | 4 |
| 25 | Гайка М6-6Н.5.019 (S10) ГОСТ 5915-70 | 14 |
| 26 | Датчик указателя давления 18.3829.010 ТУ 37.003.367-78 | 1 | |
| 27 | Датчик-сигнализатор давления ММ 111Д ТУ311 -00225621.151-93 | 1 |
| 28 | Транзисторный коммутатор с катушкой зажигания в сборе ТК 107А ТУ 37.003.484-78 | 1 |
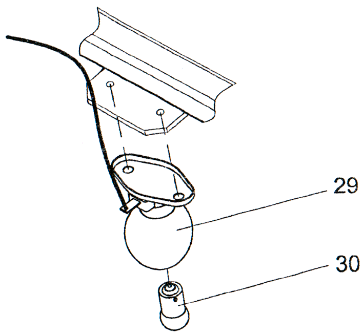
| 29 | Лампа подкапотная ПД308Б | 2 | |
| 30 | Лампа А 24-21-3 (P21W) ГОСТ 2023.1-88 | 2 |
| 31 | Сигнал звуковой С313 ТУ 37.003.688-75 | 1 |
| 32 | Датчик-сигнализатор температуры ТМ111 ТУ 37.003.569-90 | 1 |
| 33 | Датчик указателя температуры ТМ100-В ТУ 37.003.1036-80 | 2 |
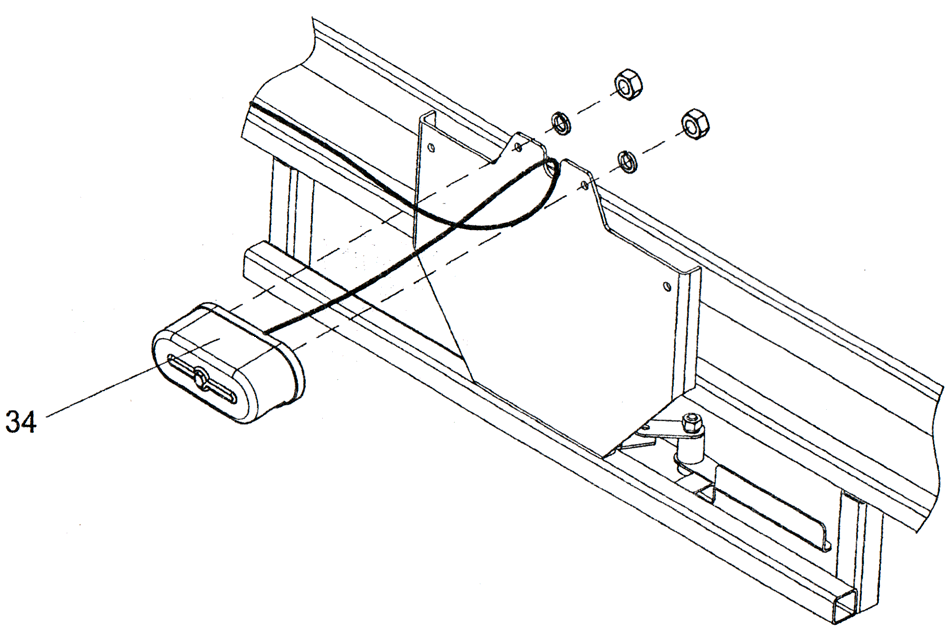
| 34 | Фонарь освещения номерного знака ФП134Б ТУ 37.003.675-82 | 1 |
| 35 | Световозвращатель ФП311-02 ГОСТ 6964-72 | 4 |
| 36 | Датчик указателя давления 11.3829.010 ТУ 37.003.367-78 | 1 |
| 37 | 027.36.11.556 | Хомут | 9 |
| 38 | Кольцо Д395А-0401269 | 2 | |
| 39 | Правая фара 05.479.000 | 1 | |
| 40 | ПК46.41.00.010-01 | Опора фары | 1 |
| 41 | Болт М10-6g×16.58.019 (S16) ГОСТ 7798-70 | 8 | |
| 42 | ПК46.41.00.010 | Опора фары | 1 |
| 43 | Левая фара 05.483.000 | 1 | |
| 44 | ПК46.41.00.020 | Установка кронштейнов фар | 1 |














