Запасные части ЧТЗ Запасные части ЧТЗ
Сыктывкар
Например:
Актобе
Алдан
или
Выбрать автоматически
Актобе
Алдан
Алматы
Алчевск
Архангельск
Астана
Астрахань
Атырау
Баку
Балашиха
Барнаул
Белгород
Бердянск
Бишкек
Владивосток
Владикавказ
Воркута
Воронеж
Горловка
Грозный
Донецк
Екатеринбург
Иваново
Ижевск
Иркутск
Казань
Калининград
Каменск-Уральский
Караганда
Каховка
Кемерово
Киров
Комсомольск-на-Амуре
Костанай
Краснодар
Красноярск
Красный луч
Ленск
Луганск
Магадан
Магнитогорск
Макеевка
Махачкала
Мелитополь
Минск
Мирный (Якутия)
Москва
Мурманск
Нерюнгри
Нижневартовск
Нижний Новгород
Нижний Тагил
Новая каховка
Новокузнецк
Новосибирск
Новый Уренгой
Норильск
Ноябрьск
Нур-Султан
Омск
Оренбург
Ош
Павлодар
Пермь
Петрозаводск
Петропавловск
Петропавловск-Камчатский
Псков
Ростов-на-Дону
Салехард
Самара
Санкт-Петербург
Саратов
Севастополь
Семей
Симферополь
Сочи
Ставрополь
Сургут
Сыктывкар
Тараз
Ташкент
Токмак
Томск
Тында
Тюмень
Ульяновск
Усинск
Усть-Каменогорск
Уфа
Хабаровск
Ханты-Мансийск
Херсон
Челябинск
Чита
Шымкент
Экибастуз
Энергодар
Южно-Сахалинск
Якутск
Ваш город
Сыктывкар
Войти
Запасные части к тракторам на одном сайте
+7 (932) 303-00-10
+7 (932) 303-00-10
г. Сыктывкар, Сысольское шоссе, д. 33
Пн-Пт: 9:30-18:30 Cб-Вс: Выходной
Отправить заявку


Ремонт механизма натяжения Т-170 Б-170 трактора в Сыктывкаре


/
с НДС 20%
Описание

Снятие механизма натяжения Т-170

Предупреждение: цилиндр механизма натяжения находится под высоким гидравлическим давлением.

Установка механизма натяжения

Рис. 295. Установка механизма натяжения

Не проверяйте визуально при отворачивании пробки 2 ( рис. 295 ), выходит ли смазка из отверстия пробки, и не выворачивайте полностью пробку. Это нужно помнить при каждом ослаблении и натяжении гусеницы.

Отверните пробку 2 на 3...4 оборота и выпустите смазку из полости механизма натяжения. Рассоедините гусеницу и подайте трактор назад так, чтобы освободить натяжное колесо. Отверните болт 1 и выведите вперед из рамы тележки натяжное колесо. Выньте механизм натяжения 3. Масса механизма натяжения 21,5 кг.

Разборка механизма натяжения Т-170

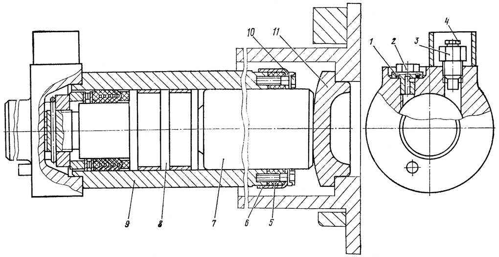
Механизм натяжения

Рис. 296. Механизм натяжения

Расстопорите болты 10 ( рис. 296 ) и выверните их. Снимите крышку 6 сальника и сальник 5. Выверните пробку 4 из клапана 3. Нагнетанием солидола через клапан 3 выдавите из цилиндра 9 шток 7 и поршень 8 с деталями уплотнения.

Поршень механизма натяжения

Рис. 297. Поршень механизма натяжения

Расшплинтуйте и отверните гайку 2 ( рис. 297 ) и снимите проставку 3 с поршня. Снимите прокладку 4, два пружинных кольца 5, вторую прокладку, опорное кольцо 6, пять манжет 7, нажимное кольцо 8, два кольца 10.

Технические требования механизма натяжения Т-170

  1. Нормальный зазор в сопряжении цилиндра со штоком должен быть в пределах 0,200...0,560 мм. Допустимый зазор 0,90 мм. Предельный зазор 1,2. мм.

  2. Нормальный зазор между цилиндром и поршнем должен быть в пределах 0,040...0,180 мм. Допустимый зазор 0,35 мм. Предельный зазор 0,6 мм.

  3. Нормальный зазор в сопряжении кольца с цилиндром должен быть в пределах 0,00...0,79 мм. Допустимый зазор 0,20 мм. Предельный зазор 0,4 мм.

Сборка механизма натяжения Т-170

Трущиеся поверхности деталей при сборке смажьте солидолом. Наденьте на поршень 9 два кольца 10 так, чтобы разрезы колец были на противоположных сторонах. Наденьте на поршень детали уплотнения последовательно:нажимное кольцо 8, пять манжет 7 и опорное кольцо 6. Наденьте на поршень прокладку 4, два пружинных кольца 5, вторую прокладку 4 и проставку 3. Наверните от руки корончатую гайку 2, не затягивая ее.

Приспособление для сборки поршня и установки его в цилиндр механизма натяжения

Рис. 298. Приспособление для сборки поршня и установки его в цилиндр механизма натяжения

Наденьте на собранный поршень приспособление ( рис. 298 ), представляющее собой цилиндр с внутренним диаметром 70 мм. Затяните гайку 2 ( см. рис. 297 ). Момент затяжки гайки 200... 300 Н-м (20...30 кгс м). Гайку зашплинтуйте шплинтом 1. Поставьте поршень с приспособлением на цилиндр 9 ( см. рис. 296 ) и протолкните поршень в цилиндр. Вставьте шток 7 в цилиндр. Установите сальник 5 с крышкой 6 на цилиндр и закрепите болтами 10. Законтрите болты отгибными шайбами. Заверните пробку 2 с прокладкой 1 и клапан 3 пробкой 4. Заправьте шприцом в полость цилиндра 0,15 кг солидола и спрессуйте усилием на штоке 200 кН (20000 кгс). Утечка смазки не допускается. После опрессовки смазку удалите, вывернув пробку 2 из цилиндра.

Установка механизма натяжения Т-170

Установите механизм натяжения в тележку до упора в опору 11. Заведите в раму тележки натяжное колесо до упора вилки в торец механизма натяжения так, чтобы штифт вошел в отверстие в плече. Закрепите вилку, на шейке механизма натяжения болтом с пружинной шайбой. Наденьте и натяните гусеницу.

Ремонт механизма натяжения