Запасные части ЧТЗ Запасные части ЧТЗ
Сыктывкар
Например:
Актобе
Алдан
или
Выбрать автоматически
Актобе
Алдан
Алматы
Алчевск
Архангельск
Астана
Астрахань
Атырау
Баку
Балашиха
Барнаул
Белгород
Бердянск
Бишкек
Владивосток
Владикавказ
Воркута
Воронеж
Горловка
Грозный
Донецк
Екатеринбург
Иваново
Ижевск
Иркутск
Казань
Калининград
Каменск-Уральский
Караганда
Каховка
Кемерово
Киров
Комсомольск-на-Амуре
Костанай
Краснодар
Красноярск
Красный луч
Ленск
Луганск
Магадан
Магнитогорск
Макеевка
Махачкала
Мелитополь
Минск
Мирный (Якутия)
Москва
Мурманск
Нерюнгри
Нижневартовск
Нижний Новгород
Нижний Тагил
Новая каховка
Новокузнецк
Новосибирск
Новый Уренгой
Норильск
Ноябрьск
Нур-Султан
Омск
Оренбург
Ош
Павлодар
Пермь
Петрозаводск
Петропавловск
Петропавловск-Камчатский
Псков
Ростов-на-Дону
Салехард
Самара
Санкт-Петербург
Саратов
Севастополь
Семей
Симферополь
Сочи
Ставрополь
Сургут
Сыктывкар
Тараз
Ташкент
Токмак
Томск
Тында
Тюмень
Ульяновск
Усинск
Усть-Каменогорск
Уфа
Хабаровск
Ханты-Мансийск
Херсон
Челябинск
Чита
Шымкент
Экибастуз
Энергодар
Южно-Сахалинск
Якутск
Ваш город
Сыктывкар
Войти
Запасные части к тракторам на одном сайте
+7 (932) 303-00-10
+7 (932) 303-00-10
г. Сыктывкар, Сысольское шоссе, д. 33
Пн-Пт: 9:30-18:30 Cб-Вс: Выходной
Отправить заявку


Ремонт распределителя Р160 Т-170 Б-170 трактора в Сыктывкаре


/
с НДС 20%
Описание

Снятие распределителя Р160 Т-170

Снимите рамку, правую переднюю панель пола и уберите резиновое уплотнение. Выверните четыре болта и снимите переднюю и заднюю пластины распределителя.

Установка распределителя

Рис. 324. Установка распределителя

Снимите планки 1 ( рис. 324 ). Отверните гайку 4 крепления рукава 2 к распределителю 6 и снимите его. Отсоедините рукава 7. Выверните штуцер перепускной трубки 5 и отведите ее в сторону. Выверните восемь болтов крепления подводящего 8 и отводящего 9 масло патрубков. Ослабьте два болта на крышке люка правого крыла и снимите крышку. Выверните через люк крыла два болта и отверните две гайки внутри кабины крепления распределителя к кронштейну и лонжерону. Снимите распределитель. Масса распределителя 38 кг.

Разборка распределителя Р-160 Т-170

Рычаги управления

Рис. 325. Рычаги управления

Установите распределитель на верстак. Отверните гайку 8 ( рис. 325 ), снимите рычаг 9, выбейте шпонку 7. 0тверните винты 12 крепленая фланца 6. Выньте рычаг 14 в сборе из корпуса верхней крышки 2-и хвостовика золотника 1 распределителя. Разберите рычаг 14, сняв с него шайбу 13, чехол 11с кольцом 10, фланец 6, прокладки 5, кольца 3 и 4. Аналогично разберите два других рычага.

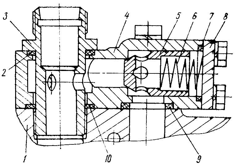
Распределитель

Рис. 326 Распределитель

Отверните болты и снимите нижнюю, крышку 7 ( рис. 326 ) распределителя и прокладку 13. Выньте из корпуса 3 три золотника 2. Золотники скомплектованы с отверстиями в корпусе, поэтому при разборке обратите внимание на наличие цифровой маркировки размерных групп отверстий в корпусе и на золотнике, для того чтобы при сборке установить их в прежние отверстия корпуса одной размерной группы.

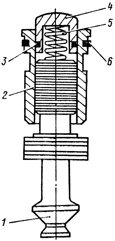
Золотник

Рис. 327. Золотник

Сожмите нижним стаканом 2 ( рис. 327 ) пружину 3 и отверните пробку 1 золотника. Усилие пружины 250 Н (25 кгс). Снимите нижний стакан 2, пружину 3, верхний стакан 5, обойму фиксатора 6, шарики 8, пружину 4, втулку фиксатора 9. Разборка двух других золотников аналогична.

Отверните болты и снимите верхнюю крышку 9 ( см. рис. 326 ) распределителя с прокладкой. Отверните два болта 11 крепления фланца перепускного клапана 12 и снимите фланец. Выньте из корпуса перепускной клапан.

Клапан перепускной

Рис. 328. Клапан перепускной

Выньте из отверстия направляющей 2 ( рис. 328 ) клапана пяту 4 с кольцом 3, пружину 5 и клапан 1. Разукомплектовка направляющей и клапана не допускается. Снимите с направляющей клапана кольцо 6.

Клапан обратный

Рис. 329. Клапан обратный

Отверните два болта крепления корпуса 4 ( рис. 329 ) обратного клапана 5 к корпусу распределителя 1. Выверните штуцер 3, перемещая его вместе с корпусом 4. Снимите корпус и уплотнительные кольца 2, 9 и 10. Отверните четыре болта и снимите крышку 8. Выньте из корпуса 4 кольцо 7, пружину 6 и клапан 5.

Снимите пломбу, отверните колпачок 1 ( рис. 330 ) предохранительного клапана, снимите уплотнительное кольцо 2. Ослабьте гайку 3 и выверните винт 5 с кольцом 4. Отверните седло 13 предохранительного клапана и снимите уплотнительное кольцо 10 и 12. Выньте шарик 9 (Б 9,525—200), направляющую 8 и пружину 7 предохранительного клапана. Выверните пробку 11.

Сборка распределителя Р160 Т-170

Перед сборкой трущиеся поверхности деталей и резиновые уплотнения смажьте тонким слоем чистого моторного масла. Замените уплотнительные кольца, имеющие остаточную деформацию. Установите в кольцевую канавку направляющей 2 (см. рис. 328) перепускного клапана уплотнительное кольцо 6 и спаруйте с клапаном 1.

Клапан предохранительный

Рис. 330 Клапан предохранительный

Запрессуйте в корпус 6 (см. рис. 330) седло 18 перепускного клапана. Установите перепускной клапан с направляющей в отверстие корпуса 6. Установите пружину 17 в отверстие клапана. Установите в канавку пяты 15 уплотнительное кольцо 16 и вставьте пяту в отверстие направляющей, так чтобы пружина вошла в отверстие пяты. Заполните внутреннюю полость фланца 14 солидолом и закрепите его на корпусе двумя болтами. Момент затяжки болтов 30...50 Н-м (3...5 кгс-м).

Установите обратный клапан 5 ( см. рис. 329 ) в отверстие корпуса 4 и легкими ударами обстукайте его до появления равномерного кольцевого пояска на конусной поверхности клапана. Установите пружину 6 в отверстие клапана и уплотнительное кольцо 7 в выточку корпуса. Установите крышку 8 и закрепите четырьмя болтами. Момент затяжки болтов 30...50 Н-м (3...5 кгс-м). Установите в кольцевые проточки корпуса 4 уплотнительное кольцо 9 и 10, вставьте штуцер 3 и вверните его в корпус 1 распределителя. Закрепите корпус 4 двумя болтами. Момент затяжки болтов 30...50 Н-м (3...5 кгс-м).

Установите уплотнительное кольцо 4 ( см. рис. 330 ) в выточку гайки 3 и наверните гайку на регулировочный винт 5. Вверните винт в корпус 6 распределителя. Установите пружину 7 в отверстие корпуса распределителя. Обстучите шарик 9 по седлу 13 до появления кольцевого пояска. Установите шарик 9 (Б 9,525—200) в сферическое углубление направляющей 8 и установите направляющую с шариком в отверстие пружины 7. Установите на седло 13 уплотнительные кольца 10 и 12. Заверните седло в резьбовое отверстие корпуса распределителя.

Примечание: законтрите винт 5 гайкой 3 и установите колпачок 1 с кольцом 2 после регулирования предохранительного клапана. Колпачок застопорите Проволокой и опломбируйте.

Установите втулку 9 ( см. рис. 327 ) в отверстие золотника 7. Установите шарики 8 (8—200) в пять отверстий золотника и наденьте на золотник обойму 6. Установите пружину 4 в отверстие втулки 9. Установите верхний стакан 5 на обойму.

Наденьте на стакан пружину 3 и сожмите ее нижним стаканом 2, заверните пробку 1. Соберите аналогично остальные два золотника. Скомплектуйте золотники по наружному диаметру одноименной размерной группы с отверстием в корпусе. Зазор в сопряжении золотник — корпус должен быть 0,01...0,02 мм. Допускается совместная притирка корпуса и золотника по диаметру с обеспечением зазора 0,01...0,02 мм. Установите скомплектованные золотники в корпус распределителя так, чтобы штифты корпуса вошли в паз обойм фиксаторов, а верхние радиальные отверстия золотников были направлены в сторону перепускного клапана. Смажьте лаком «Герметик» .прокладку 13 ( см. рис. 326 ), установите и закрепите болтами нижнюю крышку 1. Момент затяжки болтов крепления крышки 30...50 Н-м (3...5 кгс-м). Смажьте лаком «Герметик» прокладку 6, установите и закрепите верхнюю крышку 9. Момент затяжки болтов крепления верхней крышки 15...35 Н-м (1,5...3,5 кгс-м). Смажьте лаком «Герметик» прокладку 8, установите болтами крышку 7. Момент затяжки болтов крепления крышки 15...35 Н-м (1,5...3,5 кгс-м). Заверните пробку 4 с уплотнительным кольцом 5. Установите рычаг 10 малой шаровой поверхностью в отверстие хвостовика золотника 2. Наденьте уплотнительное кольцо 3 ( см. рис. 325 ) и кольцо 4 на сферическую поверхность рычага. Отрегулируйте прокладками 5 зазор А, равный 0,0...0,3 мм между торцом кольца 4 и торцом фланца 6. Наденьте пружинное кольцо 10 на чехол И и установите чехол в кольцевую проточку рычага 14. Установите на чехол шайбу 13 и закрепите к фланцу 6 и крышке 2 винтами 12 с пружинными шайбами. Установите аналогично два других рычага. Установите в пазы рычагов 14 сегментные шпонки 7 и наденьте рычаги 9, закрепите их гайками с пружинными шайбами.

Регулирование и испытание распределителя Т-170

  1. Подведите дизельное масло к напорной полости в количестве 150...155 л/мин с температурой 318...328 К (45...55°С).

  2. Отрегулируйте винтом 5 ( см. рис. 330 ) затяжку пружины предохранительного клапана. Предохранительный клапан должен срабатывать при давлении в системе 18...20-МПа (180...200 кгс/см²); при этом один из рычагов должен быть установлен в положение I и III ( см. рис. 325 ) и удерживаться в этом положении с помощью механического воздействия.

  3. После регулирования затяните гайку 3 ( см. рис. 330 ), наверните колпачок 1 и законтрите его проволокой с пломбой.

  4. Золотники должны свободно, без заеданий передвигаться в корпусе и надежно- фиксироваться в положении IV рычага распределителя.

  5. Произведите по пять включений в положения I, III, IV. Течь и обмасливание в разъемах и в местах уплотнений не допускаются.

  6. Определите по утечкам правильность подобранного зазора золотник—корпус.

Установка распределителя Р-160 Т-170

Установите распределитель на кронштейн лонжерона и закрепите четырьмя болтами с пружинными шайбами и двумя гайками. Присоедините подводящий 8 ( см. рис. 324 ) и отводящий 9 маслопатрубки и закрепите их болтами с пружинными шайбами. Присоедините перепускную трубку 5 Штуцером с медными прокладками.

Соединение маслопроводов распределителя

Рис. 331. Соединение маслопроводов распределителя

Закрепите на распределителе 5 ( рис. 331 ) шесть рукавов 4: Затяните на штуцере 3 гайку 2 рукава 1. Установите заднюю пластину распределителя. Вставьте в два передних штуцера распределителя б ( см. рис. 324 ) передние трубы 3 и закрепите двумя планками 11 с болтом 10 пружинной шайбой и гайкой 4. Установите переднюю пластину распределителя. Установите крышку люка правого крыла. Наложите на пластины распределителя резиновое уплотнение и установите правую переднюю панель пола и рамку.

Ремонт распределителя Р160